首页 / 智慧水厂
  • 水厂的现状及发展
  • 智慧水厂系统设计及系统构架
  • 智慧水厂智能化及物联网
  • 智慧水厂价值
  • 水厂的现状及发展
  • 1 传统水厂的现状与问题
  • 近年来城镇化速度的加快,推动了城乡及边远地区的供水需求不断提升,对水务企业管理的标准也在不断提高。但这种大的发展环境很容易导致城镇水厂产能不足,并且由于如下的局限性,已无法满足水务企业智慧化管理的发展需求:

  • 1. 传统水厂建设周期长,成本高,占地面积大,且不可移动;
  • 2. 传统水厂自动化程度较低,加药等核心环节过分依赖人工经验;
  • 3. 被动处理水源水质突发污染,水质安全保障有风险;
  • 4. 城镇农村、边远山区等地水厂技术力量较薄弱,管理水平较低。
  • 2 水厂的发展与概况
  • 智能水厂发展大体可分为三个阶段。

  • 水厂1.0阶段,以自动化控制为核心,着眼于工艺优化以及生产效率的提升;
  • 水厂2.0阶段,以企业信息化为核心,更多地在企业资源管理、移动应用、算法应用方面进行突破;
  • 水厂3.0阶段,则是大数据、人工智能、区块链的综合应用。

  • 目前,我国共有660多个城市,2500多个县城和30000多个行政建制镇,每个城镇基本上都拥有给水排水系统,但大部分水务公司处在信息化2.0阶段,处于向智慧水厂方向拓展的阶段。再加之现有的智慧水厂企业规模普遍偏小,缺乏标杆性企业,行业的市场集中度较低。
  • 3 水厂的概念与特点
  • 为满足新一代现代化水厂的运营需求,实现水厂过程管理的精细化、智能化,提高处理工艺的稳定性和可靠性、降低能耗药耗、减少水厂人员配备
  • 智慧水厂概括来说就是通过采用先进的管理思维和技术手段,提供一套应用于水厂的智能化控制、物联网接入采集、一体化中央监控、移动化管控平台、大数据分析和科学化决策于一体的自动化、智能化、智能化水厂整体解决方案,实现水厂的少人/无人化生产运营管理。
  • 4 水厂的概念与特点
  • 智慧水厂可以通过先进的技术手段给企业带来显而易见的收益,这些收益包括:企业生产运维成本的降低,设备系统可靠性的提高,节能降耗,降低水厂运营人工成本,最重要的是智能水厂提高了企业管理层级和管理能力。概括的说,智能水厂有以下五个方面的主要特点:

  • 1.全面的信息感知:通过信息收集的全面性、信息处理的快速性,可以全面地把握水厂全局的信息状况。
  • 2.主动的服务体验:依靠先进的技术进行监测,及时发现问题,及时作出合理的方案,及时处理问题。
  • 3.多元化的设备控制:依靠物联网云技术,水厂由现场控制向物联化远程控制发展,可以分为就地控制体系、远程控制体系、中心远程移动化控制体系,实现工业过程控制的多远化。
  • 4.科学化的决策:基于数据云,依靠智能仿真、智能诊断、智能预报、智能调度、智能控制和智能服务于一体,对水厂运营做出科学的决策。
  • 5.及时的应对策略:对突发的事件,基于智能化的监测、科学合理的决策,处理工作更加及时、可行。
  • 智慧水厂系统设计及系统构架
  • 1 智慧水厂总体设计思路
  • (1)构建高可靠、自动化、智能化的水厂控制系统;
  • 实现高可靠、自动化、智能化控制系统运行是实现“少/无人值守”的基础。
  • (2)构建基于工业物联网的统一设备接入与采集平台;
  • 通过物联网技术将厂站的仪表、设备进行按需入网,网络冗余设计保障现场设备在故障或恶劣环境下可靠稳定运行。
  • (3)构建精细化、规范化、科学化巡检管理模式;
  • 建设规范、科学、有效的巡检机制,对巡检养护记录进行综合管理,能及时预防生产事故的发生,为自来水处理设施与设备的养护和维修提供依据,并且人员工作成果将作为企业对人员绩效考核参考标准。
  • (4)构建设备全生命周期运维体系;
  • 通过构建设备全生命周期运维体系,尤其对于区域式多厂设备的维修与养护管理业务,可以采用协调作业团队,统一调度,实现人力及物力的资源共享,使设备运维管理体系得到优化整合。
  • 2 智慧水厂总体构架设计
  • 平台层体系的建立,为运营管理工作提供了大量的各自来水厂、泵站的生产运行数据,通过深入挖掘各类数据间的关系,合理利用数据,建立基于物联网的水厂综合运营管理应用体系。
  • 基于物联网、云计算、大数据等核心技术,构建水厂生产管控一体化平台,建立平台支撑体系。实现对集团/厂的关键生产指标数据及设备运行参数的采集,实时传输到管理中心服务器,并对数据进行存储、维护、管理,且提供给各应用系统使用。
  • 利用先进的5G网络技术、边缘云计算技术与互联网融合,建立网络层体系,兼容多种网络方案,保证数据传输的可靠性。
  • 感知层设备主要包括各水厂的在线仪器仪表、生产设备、控制系统等,是物联网技术构架的基础,感知层的建设是利用各厂控制系统,通过强大的数据协议转换功能,在不影响各水厂生产运行的前提下,进行多种通信接口、通信协议的转换,实现自动采集各种PLC和驱动器的生产运行数据,并建立与各类PLC、驱动器、马达控制器间的数据通讯,最终形成完善的感知层体系。
  • 3 智慧水厂网络构架
  • (1)办公网络:用于办公用计算机的组网,连接财务部门、化验室、技术部门等。
  • (2)工控网络:用于连结与生产过程相关的监控软件、PLC、生产设备、设备维护管理等智能工厂软件,支持智能工厂生产过程的运转。
  • (3)安防网络:用于支撑数字化视频监控、电子围拦和门禁等安防系统的运行。
  • (4)巡检网络:为支撑移动巡检工作的开展而设置。
  • 4 智慧水厂功能需求分析
  • (1)需要建立生产运行监控服务实现对水厂数据进行远程集中化的水厂运行综合管理。各级管理人员可通过系统能够及时、准确、全面、直观的了解和掌握生产状况。
  • (2)需要提供一套科学的应急预案或专家知识库自动应对各种常见突发情况。比如当工艺出现问题时,工艺人员第一时间可以根据知识库专家建议自动给出备选处理预案,采取科学的应对策略,将事故风险降到最低。
  • (3)需要借助云计算与时空数据库的优势,对海量数据进行深度挖掘、数据分析,对基础数据进行二次加工。发挥数据背后价值。如KPI指标、设备故障诊断、预防性维护、决策支持等,提升企业科技实力。
  • (4)需要一套设备全生命周期运维体系,实现经济生产工艺调整与持续监测、工单运维管理、安全生产隐患排查等需求。借助移动互联网使其具备实时可看、可查、可管的能力,制定、派发生产、巡检、安全等管控计划工单,并对工单的执行情况实时跟踪,提升生产经济运行管控水平,同时保障了生产安全。
  • (5)需要结合全厂内人员组织结构情况,建立一套科学、高效的办公流程方式,降低人员日常工作的劳动负荷同时,能够为各级领导提供更为科学有效的监管考核手段。比如值班、巡检、维养工作。
  • 5 智慧水厂网络构架
  • 交互层:系统为用户提供多渠道的展现方式,可使用web网站、移动终端访问本系统等。
  • 应用层:提供用于用户使用的系统服务单元,包括信息门户、设备管理、巡检管理、缺陷管理、维修管理、养护管理和基础管理等功能。
  • 平台层:主要实现各引擎服务之间的对象计算传递,以及统一的用户管理、权限管理、系统监控服务和一些平台基础模块,包括采集、计算、数据库、授权管理、服务管理等。
  • 数据层:主要实现水厂各子系统生产数据的采集、接入和处理,从网关或数据库接入数据并存储和处理,保持数据的稳定性和可靠性。
  • 基础设施层:为上层应用系统服务,提供系统平台运行的基础环境,保证系统能稳定、安全、高效的运行,主要包括网关系统、硬件基础设施(服务器、存储器、网络等)。
  • 智慧水厂智能化及物联网
    1 智慧水厂智能化--运行驾驶舱
  • 运行驾驶舱为各级生产运营管理层人员提供统一的各功能模块管理入口,在驾驶舱页面上通过对全厂绩效及各项指标数据进行图形化显示,为管理层对全厂运营绩效评估、辅助决策提供科学有效的数据依据。
  • 在运行驾驶舱首页显著位置设置生产运行重要事件提醒图标,显示当前水厂运行的事件统计总览,包括关注的KPI指标变化情况、实时运行告警情况,用户可以通过点击统计图标进行相关详细信息的查询。
  • 2 智慧水厂智能化--KPI统计和分析模块
  • 建立水厂运行关键绩效指标评估机制,从管理质量、能耗分析、设备运行效率、运行工艺参数等多个方面定期对水厂的运行管理状况进行综合性评定。
  • 以多维度统计图表的方式展现绩效结果,识别水厂运行管理薄弱环节,为水厂运行管理优化提供丰富的数据展示企业门户和决策支持,使得管理者的决策更加综合、合理、可行,形成智能化、科学化决策,为全厂可视化、精细化、智能化运营提供数据依据和强有力的支撑。
  • 展现形式可通过柱状、饼图、雷达、仪表、地图等方式进行表现,同时支持大屏输出展示。

  • 1. 水处理量情况:实时、日、月水处理量,数据钻取二级子目录水处理量。
  • 2. 工艺水质情况:工艺水质数据实时展示,可点击进入看统计图表,且可有时间区段选择。
  • 3. 设备管理情况:设备完好率等以及每月产生工单量,可点击进入详细信息查询展示。
  • 4. 生产安全指标:展示实时报警数据,要求可点击进入可查看报警记录详情。
  • 5. 效率指标:电耗、配水单耗、药耗、自用水率、工单完成率等:展示实时数据,可点击进入看统计图表,且可以有时间区段选择。
  • 3 智慧水厂运行监控与管理--运行监控
  • 运行监控中心可对水厂的所有重点设备设施,工艺段运行过程中的各个环节节点进行集中监视,真实反映运行情况。可通过系统对各个重要运行环节的集中监视,包括视频监视,让各级管理人员能够及时、准确、全面、直观的了解和掌握设备设施的运行状况。应急情况下,通过加密的控制指令,可实现水厂重要设备的远程控制。
  • 4 智慧水厂运行监控与管理--视频监控
  • 视频监控集成视频监控系统,使用户远程实时浏览、远程存储、远程回放等,可实现对整个系统权限、设备、报警、带宽、预览、录像的全面和专业的管理。
  • 在系统中可依据水厂工艺段进行分类实时视频浏览。比如用户可选取查看进水泵房的所有相关视频。
  • 5 智慧水厂运行监控与管理--报警检测
  • 为提高对设备设施运行异常的有效监测,系统提供实时的报警体系,系统可以为水厂水质超标,工艺段运行异常的有效监测,系统提供实时的报警体系。当数据越限时,系统会发出报警信息,提示用户及相关人员及时处置,实现智能预警报警:

  • 报警设置:用户可以根据现场的情况,自己设定报警规则,报警接受人和接受方式。
  • 报警统计:系统可以根据工艺段,设备等的报警情况进行统计和智能报警综合分析,为管理决策提供支持。
  • 6 智慧水厂运行监控与管理--数据分析
  • 运行数据分析不仅可以展示各监控测点的实时数据、历史数据,也可将历史数据以曲线、饼状图、柱状图等多种形式进行展示,同时也可选择展示的时间段、时间间隔等,具体实现功能和描述如下:

  • 对任意时段之间的数据进行同比和环比。
  • 支持曲线图的导出,可导出jpg格式图片,并支持打印PDF格式的数据文件。
  • ……
  • 7 智慧水厂运行监控与管理--业务报表
  • 系统可以给客户提供用于数据挖掘和分析用的业务报表,集成了专业的数据分析和报表的集成方案,系统具有自动产生所有的运行报表的功能,报表的数据来源可以基于原始数据生成,也可以基于自动优化后的数据生成,或者二者的混合,该报表系统面向用户的数据分析与处理,全面解决设备设施运行数据处理与采集、报表展现、自定义分析和权限管理的需求。

  • 1,自动生成
  • 2,数据核对和补录
  • 3,日、月、年报表
  • 4,保存、打印、导出
  • 8 智慧水厂运行监控与管理--数据管理
  • 平台提供数据填报界面,可将部分无法自动采集数据(如水质化验数据等),通过人工填报的方式采集报送到平台数据中心,人工填报的数据进入平台后跟自控数据一样可以用于统计和报表。

  • 水质化验数据
  • 电耗数据
  • 药耗数据
  • 9 智慧水厂设备管理
  • 分类管理所有生产设备,统计设备运行时间,分析设备健康状况;设备台账管理,对设备的文字、卡片、图纸等各类资料进行收集、分类管理;检修保养管理,对邻近的检修、润滑计划进行提醒;支持设备维修记录、检修保养记录查询。

  • 设备台账管理
  • 润滑台账管理
  • 设备检修管理
  • 工单管理
  • 设备库存管理
  • 设备分析
  • 10 智慧水厂设备管理--设备台账
  • 1,设备台账管理
  • 2,润滑台账管理
  • 3,设备检修管理
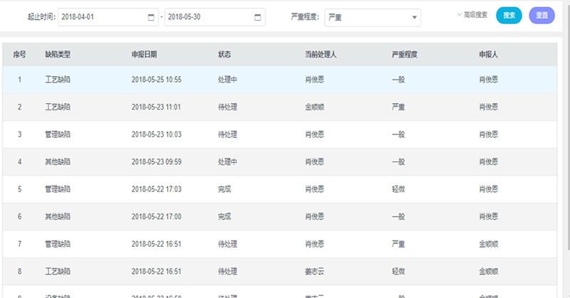
  • 11 智慧水厂设备管理--设备消缺管理
  • 水厂在运行过程中,针对设备运行状态,需要建立从问题发现到解决一整套流程化管理模式,设备消缺管理系统可提供设备从问题发现-申报-核实-维修整个过程的全面掌控,对设备故障情况进行完整的记录,为日后对设备品质、供应商信用等方面提供基础的数据支持,为将来企业针对设备选型提供依据。
  • 12 智慧水厂设备管理--设备工单管理
  • 1,设备润滑工单
  • 2,设备检修工单
  • 3,报修工单
  • 13 智慧水厂设备管理--设备维修管理
  • 设备维修管理系统实现对设施维护计划、日常巡检、日常维护、定期检测、特殊检测、大中修过程管理、大修备案、报废备案等设施维护业务,并实现对设施基本信息、状态信息、维护情况等数据的综合统计分析。
  • 14 智慧水厂设备管理--设备运维养护管理
  • 建立智能化设备管理模式,为每一台设备建立全生命周期管控台账,并制定设备养护计划,智能提醒运维人员定期养护,延长设备使用寿命,并有效降低养护成本。通过移动端实现现场设备历史数据、实时数据的查询,为现场操作提供参考和指导。

  • 1,设施维护计划
  • 为规范公司设备维护保养的管理行为,确保设备的长期平稳运行,并延长设备的使用寿命,软件可协助制定设备维护计划,每月严格按照维护计划进行维护,落实好维护任务。
  • 2,日常维护
  • 主要采用移动终端对巡检点及条目进行逐一检查和巡视,当发现故障后,由维修班组人员进行维护,本功能提供日常维护工单记录、查询和查看。
  • 3,定期检测
  • 主要是对关键设备,如水泵进行定期检测,本功能提供定期检测工单记录、查询和查看。
  • 15 智慧水厂设备管理--多维数据分析
  • 提供生产数据多维查询与分析能力,采用数据可视化展现技术,结合水处理行业经验,为企业呈现出数据间潜在的联系,挖掘数据的价值,为水厂管控人员带来决策依据。

  • 1, 设备运行KPI展示
  • 2, 设备分类统计
  • 3, 巡检养护统计
  • 16 智慧水厂移动管控APP
  • 移动管控APP提供智能水厂运营管控平台的手机APP应用,可实现运营管控平台的大部分功能。
  • 移动管控APP需充分考虑数据传输加密和安全性问题,应急情况下,可实现“口袋中的中控室”功能,实现手机APP 应用,可实现运营管控平APP对水厂的全方面监测,甚至控制设备。

  • 1,实时监测
  • 2,数据统计分析
  • 3,运行统计报表
  • 4,报警信息
  • ……
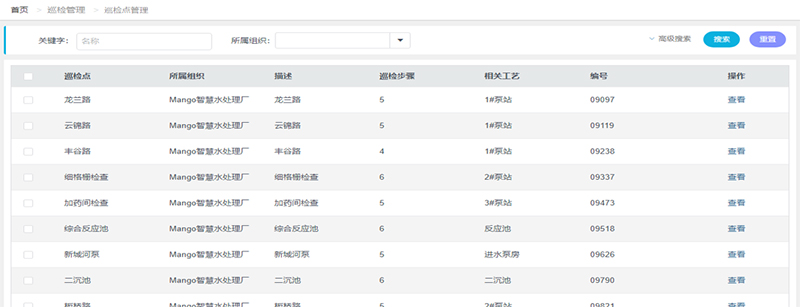
  • 17 智慧水厂移动巡检系统
  • 设备巡检管理按巡检班组生成相应日常巡检作业计划或根据突发事件制定应急计划。包括制定设备巡检任务。同时也负责制定设备巡检路线,派发巡检工单给指定班组人员。

  • 巡检管理
  • 1, 巡检点制定(二维码、RFID、NFC)
  • 2, 巡检步骤制定
  • 3, 巡检路线制定
  • 4, 巡检计划制定
  • 18 智慧水厂移动巡检系统
  • 设备巡检管理按巡检班组生成相应日常巡检作业计划或根据突发事件制定应急计划。包括制定设备巡检任务。同时也负责制定设备巡检路线,派发巡检工单给指定班组人员。

  • 移动巡检
  • 1, 巡检任务管理
  • 2, 巡检执行管理
  • 3, 巡查轨迹查看
  • 智慧水厂的价值
    1 建立高可靠、智能化的自来水处理控制系统
  • 通过对仪表设备的优质选型、信号预处理、软硬件及通信网络的冗余设计,控制系统的闭环设计、关键工艺环节的智能化设计,提高设备或系统可靠性,减少停机时间,延长生命周期,实现了高可靠智能化的自来水处理控制系统。
  • 2 建立厂级少/无人化厂级运营管理体系统
  • 从现场自动化控制、工艺智能化运行、生产过程实时监控、设备巡检及运维管理、生产运行指数分析、数据报表分析、安全生产管理、故障预警分析、移动智能服务的角度打造管控一体化的生产运营管理平台,在高效的人机交互模式下减少对自来水厂内人力资源的要求,实现了厂级少/无人化管理。
  • 3 打造全过程、可追溯的厂级生产工艺可视化管理模式
  • 解决公司管理远程工艺看不了、生产指标看不了、实时现场看不了、生产异常控不了等痛点,使企业实现全过程、可追溯的远程及移动端全厂可视化管控能力。
  • 4 建立基于移动端的生产任务跟踪管理机制
  • 从根本上将生产任务从传统人工驱动模式转换到系统自动驱动模式,使企业制定各种任务管理计划,结合移动端的便捷性、实时性等特点,自动将计划任务转换成电子工单发送给对应的负责人,同时通过移动端随时提交图片、视频、音频等形式的现场信息,采用全新的管理理念解决传统工单下发快不了、执行管不了、效果看不了、结果查不了的问题。
  • 5 建立完善的设备运维管理体系
  • 建立设备电子档案,制定设备全生命周期的跟踪管理机制,建立设备的运维保养计划,使用户提前预知设备的保养期限。同时结合移动端解决以往现场设备状态无法实时可看、历史可查、异常可报的难点,最终实现设备可靠性提高的目标。
  • 6 建立基于大数据厂级KPI运营指数汇总分析平台
  • 提升厂级生产运营管理水平,基于行业大数据分析,挖掘生产指标的内在关系,实现厂站运营数据汇总分析,帮忙用户全面掌控厂站的每日生产运营情况,提升精细化管理水平。